
MIL-PRF-62411/3A(AT)
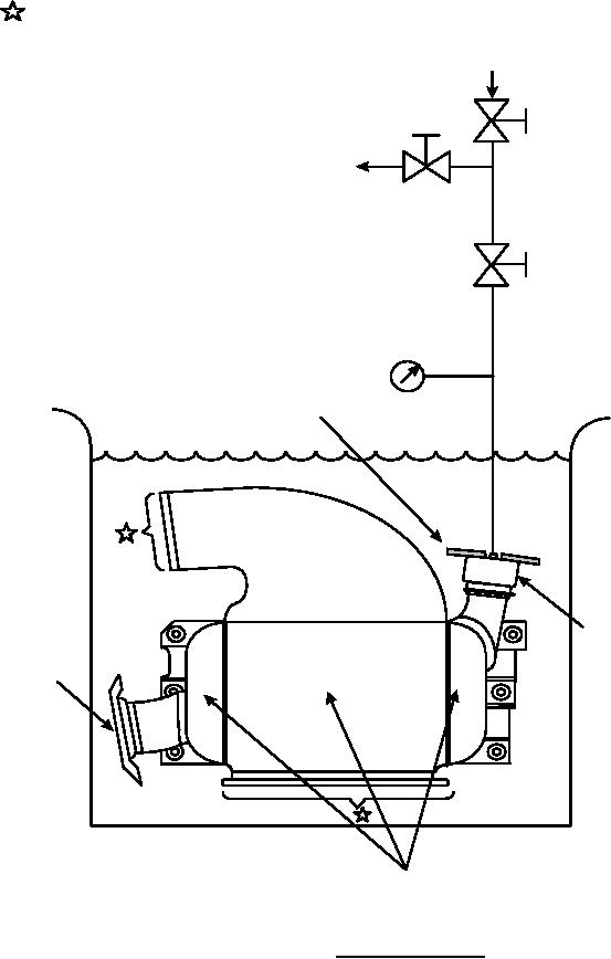
FAN AIR PORTS OPEN
PRESSURE REGULATED
R O O M TEMPERATURE
S M A L L AMOUNT OF LEAKAGE FROM FAN
AIR OR NITROGEN
AIR INLET OR OUTLET IS
PRESSURE SOURCE.
ACCEPTABLE. SUBJECT TO THE LIMITS
SPECIFIED FOR THE INTERNAL
LEAKAGE TEST.
SHUTOFF
VENT
VALVES
PRESSURE
GAGE
POSITIVE RESTRAINT
FOR SLIP-FIT CAP
WATER
FILLED
ONE BLEED AIR
TANK
PORT CONNECTED
TO A PRESSURE
SOURCE.
PRESSURE MAY BE
APPLIED TO EITHER
BLEED AIR PORT
BLEED PORTS
CAPPED
BLEED PORTS
CAPPED
N O LEAKAGE ALLOWED FROM
BLEED AIR SIDEPLATES.
BLEED AIR PANS, OR WELDS.
FIGURE 4. Leakage test setup.
7
For Parts Inquires call Parts Hangar, Inc (727) 493-0744
© Copyright 2015 Integrated Publishing, Inc.
A Service Disabled Veteran Owned Small Business